Canon Patent for 16-60mm f/2-5 lens for APS-C Mirrorless
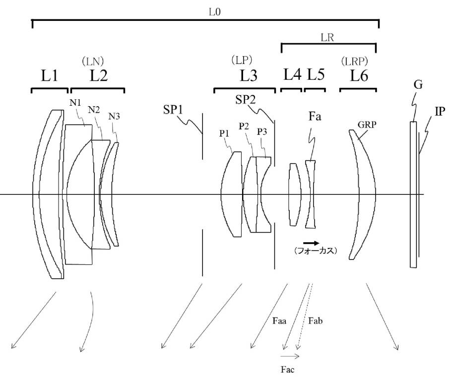
Canon is working onย a 16-60mm f/2-5 lens for APS-C mirrorless system. The standart zoom lens will offer 3.75X optical zoom. Even the given f-range is...
Canon is working onย a 16-60mm f/2-5 lens for APS-C mirrorless system. The standart zoom lens will offer 3.75X optical zoom. Even the given f-range is...