Canon filed a new patent application describing a mirrorless system camera with an electronic viewfinder (EVF) and in-body image stabilisation (IBIS).
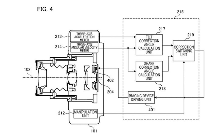
The patent application number US20180041705 clearly refers to in-camera image stabilisation. It appears that an electronic viewfinder is also placed where usually the pentaprism is located.
This is the first time we see a sensor shift capability in a canon camera. It could be related to a powershot styled camera. More details about this In Body Image Stabilisation [IBIS] system can be found below.
Canon In Body Image Stabilisation [IBIS]
An image shake correcting apparatus in which a first calculating unit calculates a correction coefficient using information corresponding to an angular velocity from a first shake detecting unit and information corresponding to an acceleration output from a second shake detecting unit. A second calculating unit calculates a translational shake correction amount using the correction coefficient and the information corresponding to the angular velocity from the first shake detecting unit. A control unit controls (i) a shake correcting unit that corrects a translational shake according to a third calculating unit that calculates an imaging magnification of an imaging optical system, (ii) a filter selecting a frequency band in which the translational shake correction is performed, and (iii) the translational shake correction amount in the translational shake correction frequency range selected by the filter.




