Sony 28-70mm f/4 FE full frame E-mount lens is to be announced along with the Sony NEX-FF full frame camera. The upcoming Sony lens will be a cheaper one and expected to be the kit lens of Sony NEX-9 full frame camera.
Sony NEX-9 full frame camera rumored to be coming in the middle of October with multiple Zeiss lenses. Zeiss 24-70mm FE lens was the third lens for the upcoming Sony NEX-9 camera. Aperture of this lens is not known yet and expected to come with an aperture of f/2.8 or f/4.
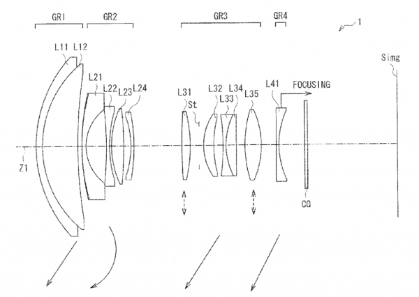
Previously patent describes an Sony G 28-70mm f/4 FE constant aperture lens designed for mirrorless cameras. Sony G 28-70mm f/4 FE will be the fourth lens as rumored and standart kit lens solution for full frame NEX-FF. The other leaked Zeiss lenses are the Zeiss 35mm f/2.8 prime and the Zeiss FE 55mm f/1.8 lens.
See also : Sony NEX-9 Full Frame Camera Specs Leaked [NEX-FF]
Sony NEX-9 Kit Lens Will Be The Sony 28-70mm f/4 FE Full Frame
Sony NEX-9 full frame mirrorless camera will feature a kit lens called Sony G 28-70mm f/4 FE and it will be cheaper and lighter than the Zeiss 24-70mm FE lens. So there will be two choices for the upcoming Sony NEX-9 full frame camera. One of them is Sony 28-70mm f/4 FE as cheaper solution and the other one is Zeiss 24-70mm FE (possibly with f/2.8 aperture) lens as high-end one.
Sony NEX-9 will become the company’s first E-mount camera with a full frame sensor on it. Sony NEX-9 announcement expected just before the Photoplus Expo around October 14 or 15.
via SAR





