Canon filed a new patent in Japan. The new patent describes the EF-S 20mm f/2.8 STM pancake lens designed for Canon DSLRs with APS-c image sensors.
The patent application is pretty close to the 24mm f/2.8 STM pancake though it will offer a 35mm focal length equivalent of 32mm. The EF-S 20mm f/2.8 STM pancake lens comes with a Stepping Motor.
If the lens becomes available into production, it will be a versatile lens for EOS 7D Mark II users. See the EF-S 20mm f/2.8 STM lens patent details.
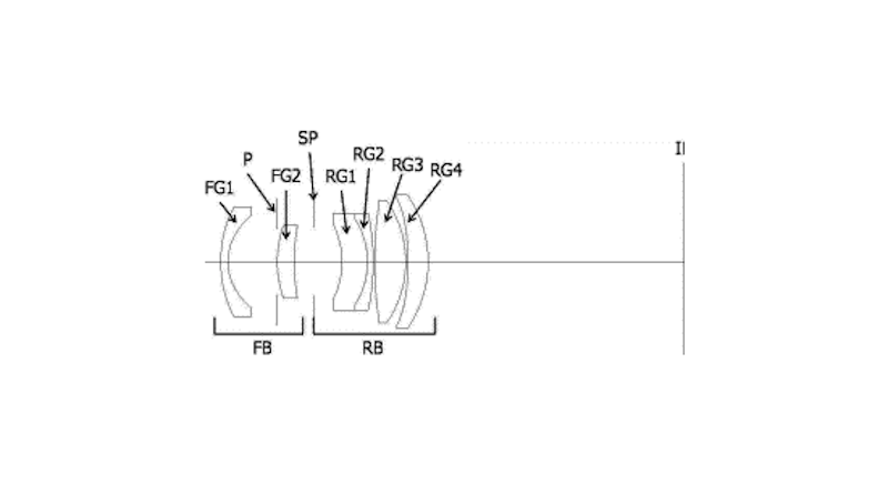
Canon EF-S 20mm f/2.8 STM Pancake Lens Patent
Patent Publication No. 2015-111192 (Google Translated)
- Published 2015.6.18
- Filing date 2013.12.6
Example 3
- Focal length 20.65mm
- Fno. 2.88
- Half angle of view ω = 33.48 °
- Image height Y = 13.66mm
- Overall length of the lens 64.00mm
- BF 35.30mm
Canon patents
- Negative ShiboTadashi
- The pay-out the entire
via Egami




