Nikon has filed a patent in Japan. The new patent refers to a Nikon 16-55mm f/3.5-5.6 VR lens designed for APS-c sensor DX-format DSLR cameras.
The patent application details for the AF-S DX NIKKOR 16-55mm f/3.5-5.6 VR lens can be seen below. Recent patent of Nikon provides a 2mm wider focal length than the existing model for its DSLR cameras.
If this patent becomes real in near future, Nikon 16-55mm f/3.5-5.6 kit lens will offer a 35mm focal length equivalent of approximately 24-82.5mm with built-in Vibration Reduction technology.
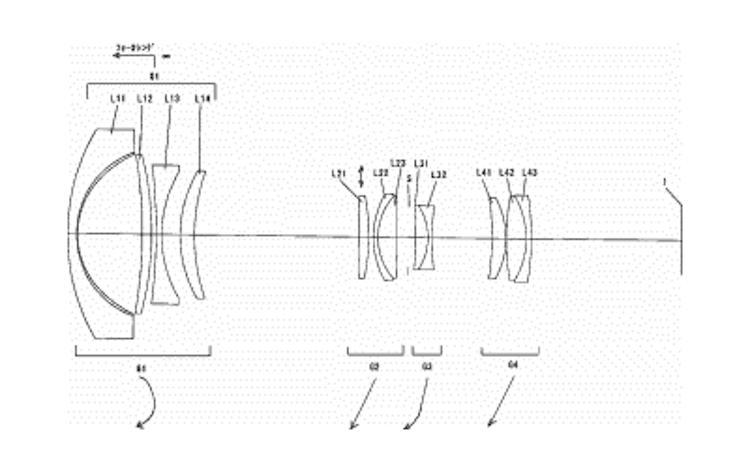
Nikon AF-S DX NIKKOR 16-55mm f/3.5-5.6 VR Lens Patent Details
Explanation self interpretation of patent literature
- Patent Publication No. 2015-45797
- Published 2015.3.12
- Filing date 2013.8.29
- Example 1
- The focal length f = 16.5 45.0 53.4mm
- Fno. 3.56 5.27 5.88
- Total angle of view 2ω = 84.7 34.9 29.6 °
- Total length 137.11 132.04 137.26mm
- Inner focus (part of the first group)
- Anti-vibration (1 part of the second group)
via Egami




