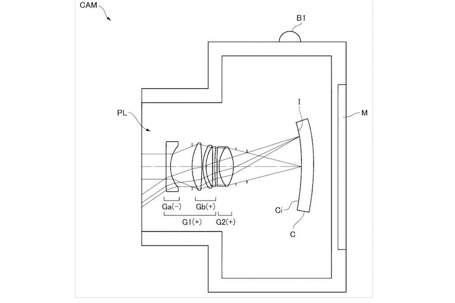
A new Nikon 35mm f/2 lens patent for a full frame curved sensor surfaced on the web. This has also led to speculation that Nikon plans to use a groundbreaking curved sensor in the forthcoming mirrorless camera.
The patent application describes a new 35mm f/2.0 prime lens designed for a camera with a full frame curved sensor. The Nikon 35mm f/2 lens patent doesn’t provide sufficient technical information. So we can’t say that this curved sensor is related to the company’s mirrorless camera plans based on this patent.
However let’s remember the story background for the Nikon mirrorless camera system.
Nikon 35mm f/2 Lens Patent for a mirrorless sytem camera with curved Full Frame sensor
Few weeks ago, Nikon’s President Mr. Kazuo Ushida confirms that a new professional mirrorless system camera is in development. He said that they are working on a brand new mirrorless camera that will be unique and different from other companies in terms of performance. See the details here.
Later on, in a recent interview with DPReview that it’s “developing new mirrorless products that build upon Nikon’s strengths, and offer the performance prospective customers expect, including the ultimate optics performance, image-processing technologies, strength and durability, and operation.”
In addition, Nikon D820, (D810 replacement) DSLR camera is rumored to be announced on July 25, 2017 with a brand new 46.5MP full frame image sensor. Stay tuned for more info.




