Nikon Patent for 10-65mm f/1.9 Lens for Compact Cameras
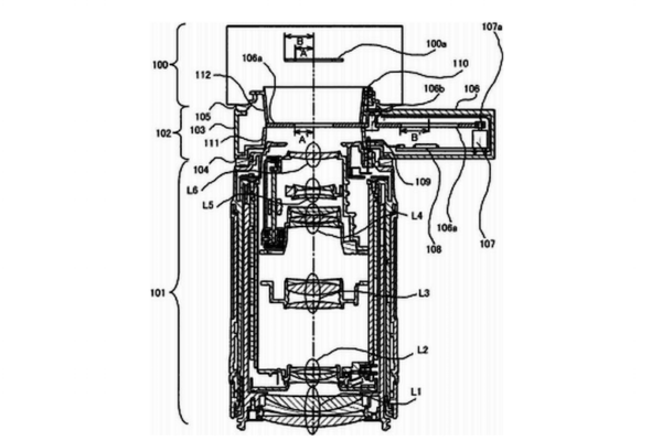
Nikon has filed a new patent in Japan. The patent describes a 10-65mm lens with a constant maximum aperture of f/1.9 designed for cameras with...
Nikon has filed a new patent in Japan. The patent describes a 10-65mm lens with a constant maximum aperture of f/1.9 designed for cameras with...
Tamron has filed a patent for a new hort-telephoto prime lens in Japan. The new patent describes the Tamron FE 24mm f/2 VC lens designed for Sony mirrorless cameras with full-frame image...
Canon filed a new patent in Japan. The new patent describes the EF-S 15-105mm f/2.8-5.6 STM lens which looks like to be a new kit lens for APS-C...
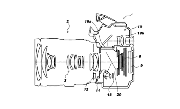
Canon has filed a new patent in Japan. The new Canon patent is describing a full-frame mirrorless camera with a new mount system. The filed patent...
Olympus has filed a new patent in Japan. The new patent describes the Olympus 500mm f/4.0 IS lens for mirrorless cameras with micro four thirds image sensors. This...
Canon filed a new patent in Japan. The new patent describes the EF-S 20mm f/2.8 STM pancake lens designed for Canon DSLRs with APS-c image sensors. The patent application is pretty close...
Sigma has filed a new patent in Japan. The new patent refers to a brighter 35mm f/2 DN OS Art prime lens lens designed for Micro Four Thirds cameras....
Canon is rumored to be working on a 24-70mm f/2.8L lens with built-in image stabilization technology. According to latest Canon rumors, the EF 24-70mm f/2.8L IS lens...
Canon filed a new patent in Japan. The new patent describes the EF 10mm f/2.8L ultra wide-angle zoom lens designed for Canon DSLRs with full-frame image sensors. This lens looks...
Sony has filed a new patent in Japan. The new patent describes a FE 28-70mm f/4 OSS lens designed for mirrorless cameras with full-frame image...
Canon filed a new patent in Japan. The new patent describes the increase dynamic range by using a Neutral Density (ND) filter on half of the measured field....
Canon filed a new patent in Japan. The new patent describes a camera system with translucent mirror and electronic viewfinder (EVF). The camera in the patent application has a built-in...