Nikon 1 Nikkor 7.5mm f/2.8 Lens Patent
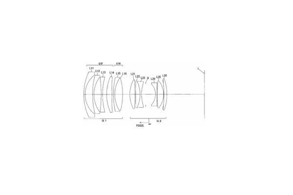
Nikon has filed a new patent for a super-wide-angle lens in Japan. The new patent describes a new 1 Nikkor 7.5mm f/2.8 lens designed for mirrorless...
Nikon has filed a new patent for a super-wide-angle lens in Japan. The new patent describes a new 1 Nikkor 7.5mm f/2.8 lens designed for mirrorless...
Canon filed a new patent in Japan. The new patent describes the EF-S 15-53mm F/2.8-4 lens which looks like to be a new kit lens for APS-C sensor...
Nikon has filed a patent in Japan. The new patent refers to a Nikon AF-S NIKKOR 28mm f/1.8 VR lens designed for Nikon DSLR cameras with full-frame image...
Canon filed a new patent in Japan. The new patent describes the EF-S 100-300mm f/4-5.6 IS lens which looks like to be a new zoom lens for...
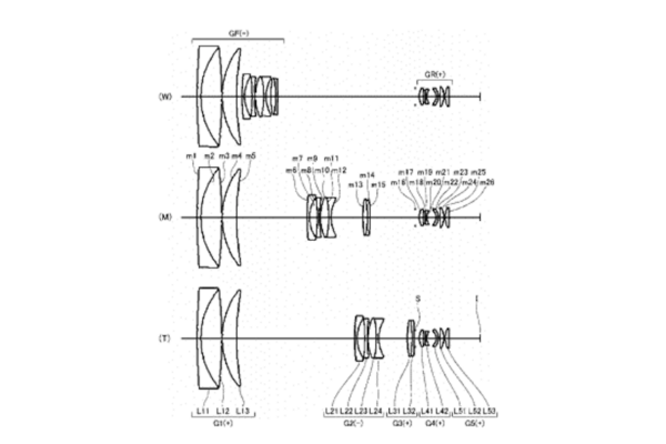
Canon filed a new patent in Japan. The new patent describes the 10-120mm f/1.8 lens which looks like to be a new lens for 1-inch type sensor...
Canon filed a new patent in Japan. The new patent describes a new CN-E 20-100mm f/2.8 and 20-130mm f/2.8-3.5 lenses for Cinema products. Both Canon lenses are standart...
According to latest Canon rumors, the company is developing more DO super telephoto lenses and the EF 800mm f/5.6 DO IS is one of the...
Canon filed a new patent in Japan. The new patent describes a new CN-E 18-85mm f/2.8, CN-E 15.5-47mm f/2.8 lenses for Cinema products. Both Canon lenses features constant...
Canon filed a new patent in Japan. The new patent describes the EF 24-120mm f/3.5-5.6 IS lens which looks like to be a new kit lens for full-frame sensor Canon...
Canon filed a new patent in Japan. The new patent describes the EF 50mm f/1.4 prime lens designed for Canon DSLRs with full-frame image sensors. From the patent application we...
Sony has filed a patent for a new dual-layer image sensor in Japan. The patent describes a two-layer sensor architecture where the top layer is...
Canon filed a new patent in Japan. The new patent describes the EF 600mm f/4 DO IS lens designed for Canon DSLRs with full-frame image sensors....