Sony A59, A69 and A79 APS-C and Two FF A-Mount Mirrorless Cameras Coming in 2014
Sony is rumored to announce five new A-mount cameras in 2014. These five cameras include three APS-C and two full frame A-mount mirrorless models. All of...
Sony is rumored to announce five new A-mount cameras in 2014. These five cameras include three APS-C and two full frame A-mount mirrorless models. All of...
Sony has officially announced the Sony DSC-RX100M2 compact camera and the Sony DSC-RX1R full frame premium camera. Both cameras has great impact and are in Stock at Amazon US and at Adorama. The Sony Cyber-shot DSC-RX100M2 is a...
Sony is rumored to launch a new lens for Sony NEX cameras this Fall. The new zoom, Sony 55-150mm f/2.8 G E-mount lens to be announced...
Sony i1 Honami smartphone rumored to come with Android OS. The Sony i1 Honami will be the first smartphone of One Sony branding and can shoot pictures as good as Sony Cyber-shot...
The Sony A79 specs have been leaked on the web. Sony is rumored to release a successor for the SLT-A77 digital SLR camera, and the replacement of Sony A77...
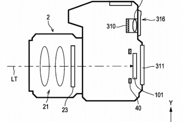
Sony is rumored to be working on a new product called lens-camera. Sony lens camera will be released in two versions. Sony lens-camera is consists of...
Rumors show that Sony has developed 24MP, 32MP, 36MP new full frame sensors for the upcoming Sony cameras. The next generation A-mount and E-mount Full Frame cameras...
Sony is rumored to be working on a new product called lens-camera. This is revolutionary product and a rumor that Sony is building a camera lens...
Sony is rumored to be announced four new NEX cameras in near future. New Sony NEX cameras coming soon this Fall and after the recent...
Sony NEX-5T camera rumored to be announced this Autumn. The replacement of Sony NEX-5R, the upcoming NEX-5 mirrorless camera will be named as Sony NEX-5T. This...
Sony NEX-FF camera to be announced in two months period. The new NEX Full Frame camera expected to be priced below $3000, similar to Sony A99....
Sony NEX-FF photocamera announcement expected to be in two months period. Recent rumors show that the Sony NEX-FF camera coming with two new Zeiss lenses. The...