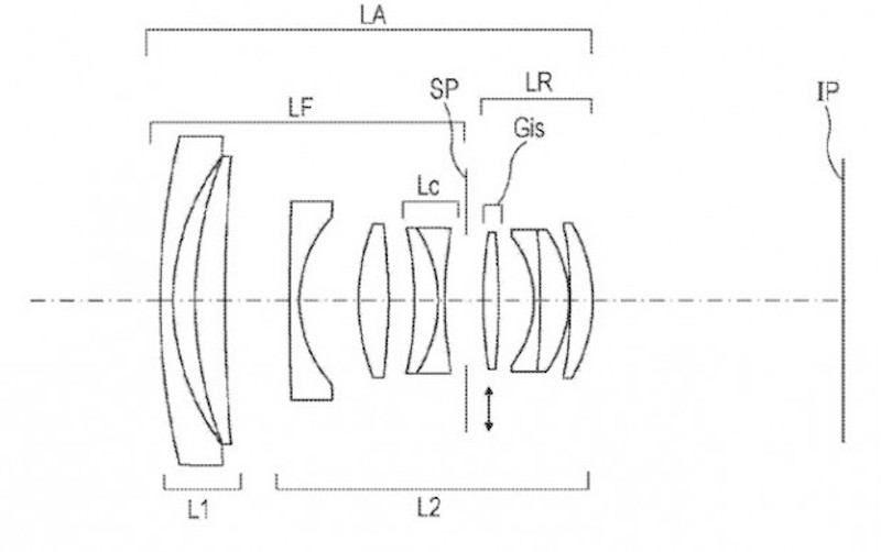
Canon has a new patent application for a new prime lens. The new patent describes the EF 35mm f/2 IS II USM lens designed for Canon DSLRs with full-frame image sensors.
According to the source, the new lens patent was filed on March 31, 2015. The lens construction looks 104.5mm long, it is a bit longer than the current model at 62.6mm.
If becomes in production the EF 35mm f/2 IS II USM lens will repace the current EF 35mm f/2 IS USM lens.
Canon EF 35mm f/2 IS II USM Prime Lens Patent
The Canon EF 35mm f/2 IS USM wide-angle prime lens comes with a fast maximum aperture. It is ideal as an everyday lens and is very effective in low light conditions
via: PhotographyBay




