Egami spotted a new patent filed by Tamron. The new Tamron patent describes a 10mm f/2.8 and 10mm f/1.8 fisheye lenses for APS-C based DSLR cameras.
The pending patent shows Tamron 10mm f/2.8 and 10mm f/1.8 fisheye lenses. These lenses are expected to have a reasonable weight and size. We hope Tamron introduce an AF capable and affordable price than the current Nikon 10.5mm f/2.8G ED AF DX Fisheye lens.
See below for the patent details translated by machine.
Tamron Filed a Patent for a 10mm f/2.8 Fisheye Lens
Description and self-interpretation of the patent literature
- Patent Publication No. 2013-238684
- Publication date 2013.11.28
- Filing date 2012.5.14
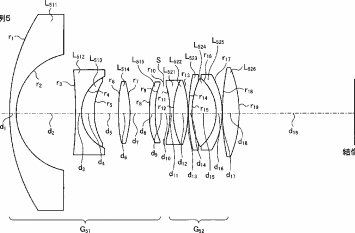
- Example 1
- Focal length f = 10.21
- Fno. 2.88
- Angle of view 2ω = 181.00 °
- 7 group 9-lens configuration
- Total length 60.00mm
- BF 35.00mm
- Example 5
- Focal length f = 10.00
- Fno. 1.84
- Angle of view 2ω = 181.00 °
- 11 pieces 7 lens configuration
- Two four-sided aspherical
- Total length 70.00mm
- BF 35.00mm
via EG






