Canon Patent for RF 24-70mm f/2.8L USM Lens
Canon has filed a new patent in Japan. The application is for RF 24-70mm f/2.8L lens designed for Canon full frame mirrorless camera system. This lens is very similar...
Canon has filed a new patent in Japan. The application is for RF 24-70mm f/2.8L lens designed for Canon full frame mirrorless camera system. This lens is very similar...
Canon has filed a new patent in Japan. The application is for RF 90mm f/2.8L IS Macro lens designed for Canon full frame mirrorless camera system. This lens...
Canon has filed a new patent in Japan. The application is for RF 24-70mm f/4L IS USM lens designed for Canon full frame mirrorless camera system. This lens...
Sigma recently has filed a new lens patent in Japan. The application describes a Sigma 12mm f/2.8 DG HSM Art lens designed for full frame DSLR...
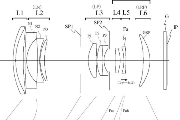
Canon has filed a new patent in Japan. The application is for RF 14-21mm f/1.4L lens designed for Canon full frame mirrorless camera system. Looks like in...
Here is the detailed Canon RF lens roadmap till year 2021. According to the report Canon full frame mirrorless camera system will have 4 lenses...
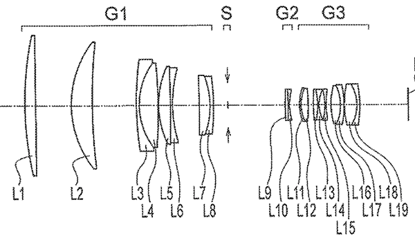
Canon has filed a new patent in Japan. The application is for RF 24-70mm f/2.8L IS and RF 24-300mm f/4-5.6L IS USM lenses designed for...
Olympus has filed a new patent. It describes the Olympus 400mm f/4.0 lens for mirrorless cameras with micro four thirds image sensors. This is a super-telephoto lens...
Canon is working on a 16-60mm f/2-5 lens for APS-C mirrorless system. The standart zoom lens will offer 3.75X optical zoom. Even the given f-range is...
Canon has filed a new patent in Japan. The patent application describes an EF 58mm f/1.4 lens (JP 2018-97240) for full frame DSLR with a controllable...
Canon has filed a new patent in Japan. The new application describes an updated EF 800mm f/5.6L IS super-telephoto prime lens. We might somehow call...
A new patent filed by Canon. The patent application describes a Canon 16-28mm f/2.8 lens that is designed for a possible full frame mirrorless camera....