Canon Patent for 9-18mm Ultra-Wide Angle Lens for EOS M
Canon has filed a new patent in Japan for an EF-M 9-18mm f/3.5-4.5 STM lens. The patent describes a new 9-18mm Ultra-Wide Angle Lens designed for the EOS M system...
Canon has filed a new patent in Japan for an EF-M 9-18mm f/3.5-4.5 STM lens. The patent describes a new 9-18mm Ultra-Wide Angle Lens designed for the EOS M system...
Ricoh filed a patent for a Pentax 18mm f/2.8 Macro lens in Japan. The new patent describes a Pentax 18mm f/1.8 lens designed for mirrorless cameras with 1/1.7-inch-type...
Canon has filed a new patent in Japan for the the 300mm f/4 IS, 24mm f/2.8, and 50mm f/1.3 lenses. The patent describes a new Canon...
Canon has filed a new patent showing an optional image stabilization unit that can be put into a lens without changing its focal length. The patent...
Nikon has filed a new patent in Japan for a standard zoom lens for CX-mount mirrorless cameras. The new patent describes Nikon 9-30mm f/1.8-2.8 lens designed...
Egami spotted a new patent filed by Nikon. The new patent describes a 28-80mm f/3.5-5.6 VR zoom lens aimed at full frame mirrorless cameras. A...
Egami has discovered a new patent filed by Canon. The new patent describes a EF-M 70-400mm f/4.5-7.2 STM lens which is designed for EOS-M mirrorless system cameras. If the patent becomes live in production,...
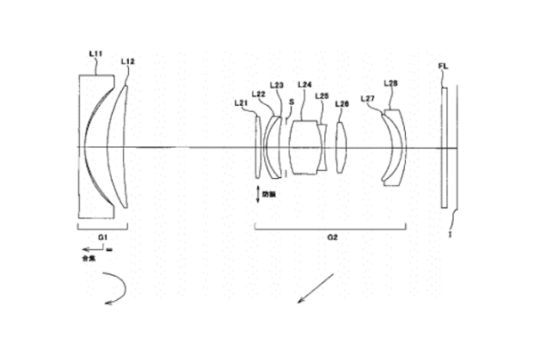
Egami has discovered a new patent filed by Canon. The new patent describes a EF-S 9-18mm f/4.5-5.6 lens which is designed for APS-C sized sensored DSLR cameras. The lens looks...
Egami has spotted a patent filed by Panasonic. The new patent descrbies an external hybrid (optical and electronic) viewfinder. From the drawings it looks like...
Egami spotted a new patent filed by Sigma. The new patent describes the Sigma 17-55mm f/2.8 OS lens designed for DSLR cameras with APS-c sized sensors....
Egami spotted a new patent filed by Nikon. The new patent describes the Nikon AF-S NIKKOR 600mm f/4E FL ED VR telephoto prime lens. Previously the company is rumored...
Egami has discovered  a new patent filed by Canon. The new patent describes a 10-22mm f/3.5-4.5 lens that features a liquid lens element in between all the...