Canon RF 15-35mm f/2.8L IS USM & RF 24-70mm f/2.8L IS USM Lenses to be Announced Soon
Two of the Canon’s “holy trinity” RF mount lenses will be released before the end of August, 2019. These glasses would be the RF 15-35mm f/2.8L...
Two of the Canon’s “holy trinity” RF mount lenses will be released before the end of August, 2019. These glasses would be the RF 15-35mm f/2.8L...
What to expect from Canon ? In this August 2019 version, you’ll get the latest news and rumors in one place for the upcoming Canon DSLR and...
Here is the latest Canon RF mount lens roadmap for 2020 that has been shown to selected photographers. According to this RF lens roadmap, Canon’s...
The upcoming “holy trinity” RF mount lenses will be released before the end of July, 2019. The mirrorless optics are RF 15-35mm f/2.8L IS USM...
Along with the entry-level Canon EOS RP full frame mirrorless camera, Canon has announced the development of six RF lenses which are expected to be released in...
First images and specifications of the upcoming Canon EOS RP mirrorless camera have been leaked ahead of its offial announcement. The announcement date will happen on February...
It is now confirmed that the Canon EOS RP mirrorless camera will use the LP-E17 battery. According to the reports, the official announcement will happen on February 14th. Along...
Along with the entry-level Canon EOS RP full frame mirrorless camera, Canon will be announcing at least 5 new RF lenses. These lenses are the RF 15-35mm f/2.8L...
More Canon EOS RP specs leaked ahead of the official announcement. According to the unconfirmed reports, the entry-level mirrorless camera will have a 24-megapixel full frame image...
According to latest rumors, Canon will soon announce a new entry level full-frame mirrorless camera. The product in question is the Canon EOS RP and...
Canon is on the verge to announce a new mirrorless camera called “Canon EOS RP“. The entry-level full frame will be officially announced in mid February, 2019 along with...
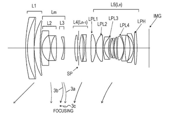
Canon has filed a new patent in Japan. The application is for RF 24-70mm f/2.8L lens designed for Canon full frame mirrorless camera system.  This lens is very similar...