Canon EOS 90D, EOS M6 Mark II, RF 15-35mm f/2.8L IS & RF 24-70mm f/2.8L IS Lenses Announced
Canon EOS 90D DSLR, EOS M6 Mark II mirrorless camera, RF 15-35mm f/2.8L IS USM and RF 24-70mm f/2.8L IS USM lenses are now officially...
Canon EOS 90D DSLR, EOS M6 Mark II mirrorless camera, RF 15-35mm f/2.8L IS USM and RF 24-70mm f/2.8L IS USM lenses are now officially...
According to recent reports Canon EOS 90D body price to be around $1,199, this is same launch price at EOS 80D (Amazon | B&H | Adorama). The mid-range DSLR camera will...
Here are the product images of the Canon EOS 90D, EOS M6 Mark II cameras and the RF 24-70mm f/2.8L IS USM lens. The official...
First specs of the upcoming Canon EOS 90D digital SLR camera have been leaked on the web. Canon Australia has accidently published the promo video of ...
It is now confirmed that Canon will announce two new cameras by the end of this month. These products would be the EOS 90D and EOS M6...
What to expect from Canon ? In this August 2019 version, you’ll get the latest news and rumors in one place for the upcoming Canon DSLR and...
Check out the new rumored specs list of the Canon EOS 90D APS-c DSLR camera. It is said to replace both EOS 7D Mark II and EOS 80D and expected...
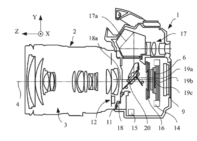
Canon recently has filed a new patent for in-body image stabilization and it is for company’s next DSLR cameras. This is first time a patent...
Canon 90D is rumored to feature a new 32.5MP APS-C CMOS sensor and recent reports indicates that it will also record videos without any Crop...
Canon is rumored to replace the EOS 7D Mark II DSLR camera with the mirrorless body. So in other words the long rumored Canon EOS...
Here are the rumored specs of the possible Canon EOS 90D and Canon EOS 7D Mark III camera. As you might remember a new APS-C...
A new Canon 32.5MP APS-c DSLR camera with Dual Pixel AF registered through a Taiwanese certification agency. This 32.5MP APS-c sensor refers to a high-end DSLR...