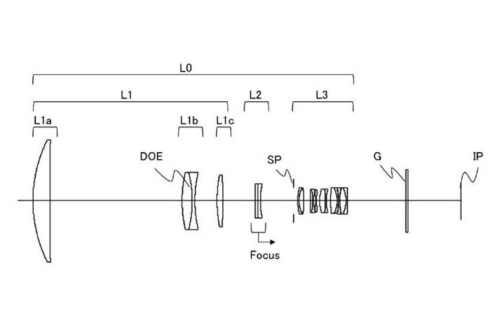
Canon has filed a new patent in Japan. The new application describes an updated EF 800mm f/5.6L IS super-telephoto prime lens. We might somehow call it the EF 800mm f/5.6L IS II which should be the improved IS model.
Looks like the Japan-based company is continuing to work on a follow-up to the longest lens in the current EF lineup. However rumor mill doesn’t expect new “big white lenses” this year.
So the replacement of the EF 800mm f/5.6L IS might showup in early 2019 or sometime next year. You can find the patent details of the EF 800mm f/5.6L IS II lens below.
Canon EF 800mm f/5.6L IS II Lens Patent
Japan Patent Application 2018-087965
- Focal distance 780.00
- F number 5.80
- A half field angle (degree) — 1.59
- Image height 21.64 whole length of the lens 485.85
- BF 128.77
Read more Canon Rumors.





