Egami, the Japanese Photography Blog has discovered a new patent filed by Nikon. The new Nikon patent describes a 800mm f/5.6, 600mm f/4 II and 400mm f/2.8 II super telephoto zoom lenses for DSLR cameras.
The patent was originally submitted on May 30th, 2012. Nikon already announced the 800mm f/5.6 lens and the current AF-S Nikkor 600mm f/4G and 400mm f/2.8G lenses was announced back in 2007.
Nikon is planning to refresh these super telephoto lenses for the upcoming Winter Olympics or Tokyo Olympics in 2020 and Rio de Janeiro Olympic Games of 2016.
Nikon Filed Patent for 600mm f/4 II and 400mm f/2.8 II Lenses
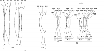
Description and self-interpretation of the patent literature
- Patent Publication No. 2013-250292,2013-250293
- Publication date 2013.12.12
- Filing date 2012.5.30
- Remarks JP 2013-250289,2013-250290,2013-250291,2013-250294 is 800 mm F5.6 relates
- Example 1
- Focal length f = 780.00mm
- Fno. 5.658
- Angle of view 2ω = 3.147 °
- Image height Y = 21.63mm
- Total length 499.319mm
- BF 52.854mm
- β = 0 – 0.033 – 0.155
- 21 + pieces of filter plug-in 14-group lens configuration
- Example 2
- Focal length f = 588.000mm
- Fno. 4.106
- Angle of view 2ω = 4.182 °
- Image height Y = 21.60mm
- Total length 464.319mm
- BF 98.258mm
- β = 0 – 0.033 – 0.155
- 18 sheets + plug-in filter 13-group lens configuration
- Example 3
- Focal length f = 408.000mm
- Fno. 2.869
- Angle of view 2ω = 3.034 °
- Image height Y = 21.60mm
- Total length 419.319mm
- BF 69.581mm
- β = 0 – 0.033 – 0.105
- 18 sheets + plug-in filter 13-group lens configuration
- Nikon patents
- Positive and negative positive
- Inner Focus (group 2)
- (Part of the third group) anti-vibration
- Compatible with rear plug-in filter
via EG






