Canon Patent For EF 85mm f/1.2L III and Several Other Primes
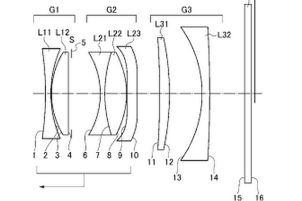
Egami has discovered a new patent filed by Canon. The new patent describes lens designs for several 85mm and 50mm prime lenses. EF 85mm f/1.2L...
Egami has discovered a new patent filed by Canon. The new patent describes lens designs for several 85mm and 50mm prime lenses. EF 85mm f/1.2L...
Egami spotted a new patent filed by Tamron in Japan. New patent describes a Tamron 15-50mm f/1.4 lens made for 1/1.7 inch sensor cameras. Tamron 15-50mm f/1.4...
Egami has discovered a new patent filed by Tamron in Japan. The new patent describes a 10mm f/2.8 fisheye lens. The pending Tamron 10mm f/2.8...
Egami has discovered a new patent filed by Sigma. The patent describes a new Sigma 28-85mm f/3.5-5.6 OS lens for APS-C mirrorless system cameras. If we...
A new Fujifilm patent spotted on the web. The new patent describes Fujifilm XF 85-300mm f/2.7-3.7 super telephoto zoom lens. The lens provides 35mm focal length equivalent...
Egami has spotted a new patent filed by Canon. The new patent describes the 180mm f/3.5 IS, 200mm f/3.5 IS and 300mm f/3.5 IS macro lenses. This patent details shows us...
Egami has spotted a new patent filed by Canon. The new patent describes the 17-40mm and 16-35mm lenses with apertures between f/2.8 and f/4. This patent shows various wide angle optical designs...
Egami discovered a new patent filed by Canon in Japan. The new patent describes a Canon EF 600mm f/4 telephoto prime lens. Canon currently has the EF...
Egami has discovered a new patent filed by Ricoh. The new patent describes a Ricoh 24mm f/2 lens for mirrorless APS-C sized sensor cameras. It...
Egami has discovered a new patent filed by Olympus. New patent describes two wide angle, large aperture lenses for Micro Four Thirds system cameras. These...
Egami has discovered another patent filed by Canon. The new patent describes the EF 24-85 f/3.5-5.6 IS lens which looks like to be a new kit lens for full frame...
Egami has discovered new patents filed by Tamron in Japan. The new patents describes two new Tamron 30mm f/2.8 Macro and Tamron 28mm f/2.5Â macro lenses...