Fujifilm has filed a new patent for long zoom lens. The new patent describes a Fujifilm 18-250mm f/3.6-6.5 lens for X-mount cameras.
This patent means that Fujifilm is working for an all-in-one lens for entry-level photographers who do not want to carry multiple lenses in their bag.
There is no other detailed information or Fujifilm 18-250mm f/3.6-6.5 lens specifications yet. Anyway when this lens become available it would be ideal for travel photographers.
Fujifilm Patent for 18-250mm f/3.6-6.5 X-Mount Zoom Lens
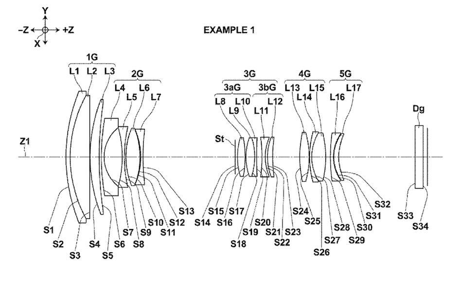
Fujifilm’s patented new X-mount lens has a focal length range of 18mm to 250mm and a maximum aperture of f/3.6-6.5.
Fujifilm currently has long zoom solutions in their lineup. Both the XC 50-230mm f/4.5-6.7 OIS and the XF 55-200mm f/3.5-4.8 R LM OIS do not offer any wide-angle capabilities.
So if the new 18-250mm f/3.6-6.5 lens become available it would be a great all-in-one travel lens for Fuji X-A1 and X-M1 users.





