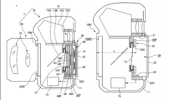
Egami has discovered a Nikon patent for a camera with interchangeable sensor technology. Nikon filed a patent application in Japan (2013-187834) for a camera with interchangeable sensor. Canon and Nikon both working on Medium Format sensors and technology.
These kind of patents also shows that 2014 may be proving to be an interesting year for product announcements. The patent describes a way to achieve the mounting of the sensor unit with higher accuracy.
Nikon Patent for Interchangeable Sensor Camera Technology
Description and self-interpretation of the patent literature
- Patent Publication No. 2013-187834
- Publication date 2013.9.19
- Filing date 2012.3.9
- Replaceable image sensor unit
- Positioning is difficult
- Nikon patents
- Replaceable image sensor unit
- The camera body imaging element I and optical flat joint surface of the unit
- That the size of the surface irregularities, is 1 to about 1/10 fraction of the wavelength of light
- I use a feasible plan glass stable than the metal




