Olympus OM-D E-M1 High-End Camera Specs Leaked
New Olympus OM-D E-M1 high-end camera specs surfaced online. The specs list below shows that the rumored high-end OM-D camera is the Olympus E-M1. Olympus OM-D E-M1...
New Olympus OM-D E-M1 high-end camera specs surfaced online. The specs list below shows that the rumored high-end OM-D camera is the Olympus E-M1. Olympus OM-D E-M1...
A new high-end Olympus OM-D camera expected to be announced in September. Recent rumors show that Olympus first High-End OM-D camera could be priced around 1.500 Euro...
The Olympus PEN Art Edition is a luxury kit including two Olympus PEN E-P5 camera bodies and half a dozen Micro Four Thirds lenses. Olympus...
Olympus released a new firmware update for the Olympus PEN E-P5 micro four thirds camera. Olympus PEN E-P5 firmware version 1.2 now available for update. Firmware update 1.2 for Olympus...
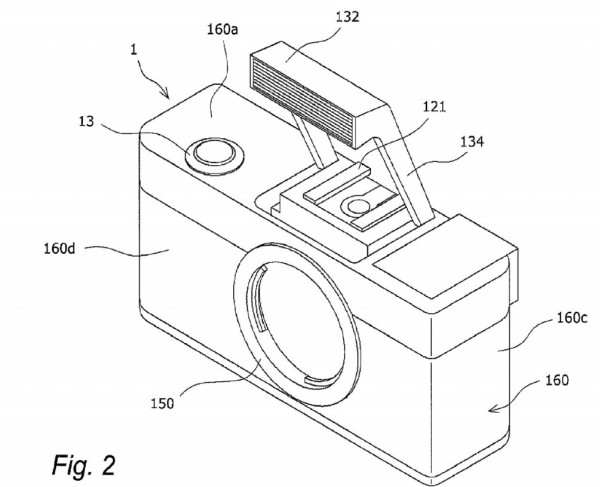
Olympus E-M1 micro four thirds camera to be announced this Fall in September. Â Olympus E-M1 camera design leaked showing parts and controls. A detailed description...
Olympus is rumored to announce a new high-end OM-D camera with a hybrid Four Thirds – Micro Four Thirds mount. This means the OM-D E-M7...
Olympus US launched a list of price drops Micro Four Thirds cameras and Four Thirds lenses. After the newly announced Panasonic GX7 camera the Olympus E-P5 body...
A new high-end Olympus OM-D camera expected to be announced in September. The upcoming Olympus rumored to be called as OM-DÂ E-M7 and it will NOT...
Panasonic has announced the Lumix DMC-GX7 mirrorless compact system camera. Panasonic GX7 specs comparison vs Olympus PEN E-P5 micro four thirds camera is now available. Below are the specs comparison...
Panasonic has announced the Lumix DMC-GX7 mirrorless compact system camera.  The new Panasonic Lumix DMC-GX7 is a micro four thirds camera and features the world’s first built-in 90-degree tilt-able Live...
Panasonic GX7 hands-on videos are now available from several websites. The new Panasonic Lumix DMC-GX7 is a micro four thirds camera and features the world’s first built-in 90-degree tilt-able Live...
Panasonic has announced the Lumix DMC-GX7 mirrorless compact system camera. Panasonic Lumix DMC-GX7 high ISO and full size sample images are now available on the web. The PhotographyBlog has posted 55...