Rumored Canon RF Lens Roadmap in 2023 to 2024
Here are the latest updates for Canon RF lenses. In 2023 to 2024, Canon will release several new RF lenses. Below is the rumored lens roadmap...
Here are the latest updates for Canon RF lenses. In 2023 to 2024, Canon will release several new RF lenses. Below is the rumored lens roadmap...
Let’s take a look at the list of upcoming Canon cameras and lenses expected to be released in 2023. What to expect next from Canon?...
According to latest rumors, Canon will allegedly announce many new products in the second half of this year. This major announcement will include one major...
Although Canon has so far offered exciting lenses for full-frame mirrorless RF mount, it is considering further expanding its lens range with new products in...
Canon RF Mount Lens Roadmap for 2021 seem to confirm the company’s dedication to the EOS R system. According to recent repors, Canon is expected to...
Here are the rumored Canon RF Lenses for 2020. Canon mirrorless lenses that are expected to be announced in 2020 include RF 10-24mm f/4L, RF...
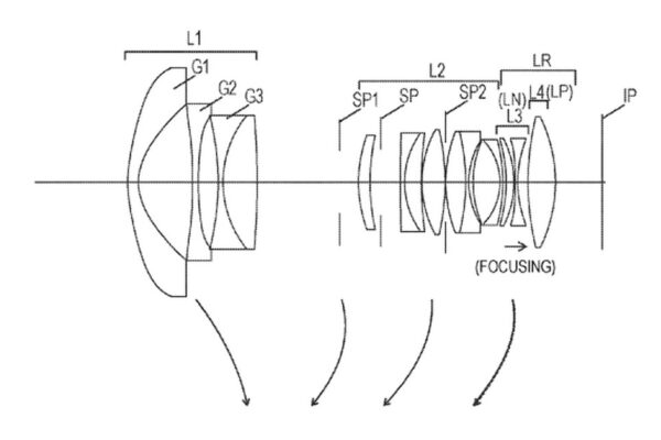
Canon filed two new patents for RF 14-28mm f/2 and RF 10-24mm f/4 lenses in USA and Japan. Both lens patents are RF mount ultra-wide...