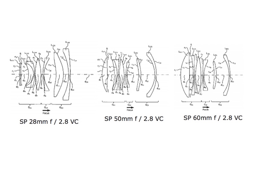
Tamron has filed a patent for a several new prime lenses in Japan. The new patent describes the Tamron SP 28mm f/2.8 VC, SP 50mm f/2.8 VC and SP 60mm f/2.8 VC lenses designed for Sony mirrorless cameras with full-frame image sensors.
As we’ve posted earlier, the company has pending patents filed like the FE 90mm f/2.8 Macro, 120mm f/2.8, 180mm f/2.8, and 300mm f/2.8 lenses.
This would be good news for the current Sony A7-series FE-mount users. As Tamron produce such good lenses with an affordable price.
Tamron 28mm, 50mm and 60mm f/2.8 Full Frame Mirrorless Lens Details
According to patent application all three lenses will have in lens stabilization featuring 6 group and 7 lens design. They will also have a close focusing distance of 30cm.
Description, self-interpretation of the patent literature
- Patent Publication No. 2015-163926
- Published 2015.9.10
- Filing date 2014.2.28
- Example
embodiment Example Focal length Fno. Half angle Image height BF Minimum focusing distance Lens constitution Aspheric surface LD 1 27.5462 26.0246 2.8840 2.8985 38.5881 38.3233 20.29 21.07 15.6482 15.6482 300 6 groups seven 6 surface 3 sheets 0 2 48.4962 40.8401 2.8840 2.9589 21.9113 20.7990 21.63 21.63 16.1817 16.1817 300 6 groups seven 6 surface 3 sheets 1 Three 58.5031 46.1351 2.8840 3.0166 18.4621 17.3034 21.63 21.63 20.1130 20.1130 300 6-group, six 6 surface 3 sheets Three - Tamron patent
- Of positive and negative negative 3-group configuration
- Inner focus (the second group)
- Vibration control
- Video support
via Egami




