Three New Canon RF L Hybrid Lenses are Coming on October 30
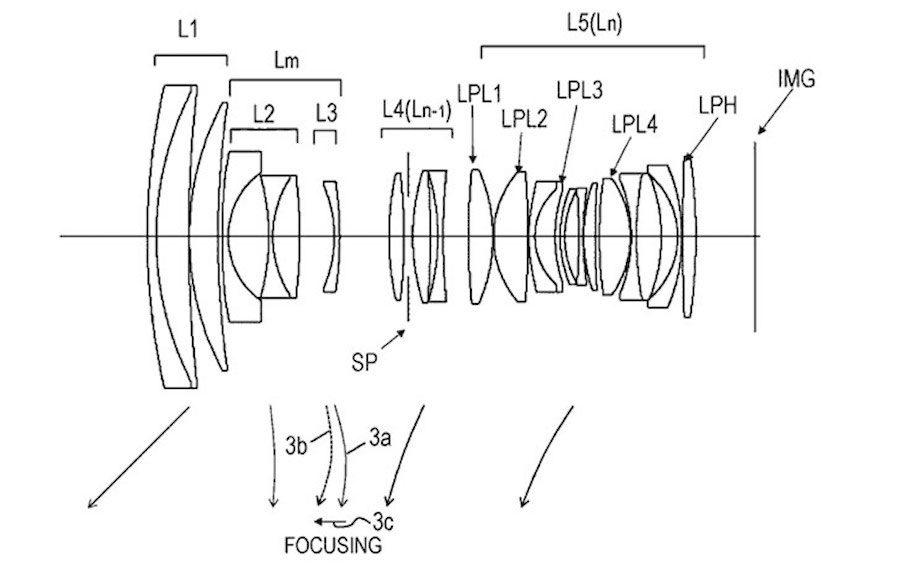
Canon is set to announce three new RF L-series lenses on October 30 as part of their high-performance lens lineup for the RF mount. These...
Canon is set to announce three new RF L-series lenses on October 30 as part of their high-performance lens lineup for the RF mount. These...
As Canon enthusiasts eagerly anticipate the next generation of the Canon EOS R6, rumors about the Canon EOS R6 Mark III have started to circulate,...
Exciting rumors are emerging that Canon is developing prototypes of the EOS R6 Mark III, and they are reportedly being tested in the wild. This...
Canon enthusiasts and professional photographers are eagerly awaiting the next iteration of the highly acclaimed EOS R6 series. According to recent rumors, the Canon EOS...
The Canon EOS R6 Mark II has been a popular choice among photographers and videographers since its release, but rumors suggest that Canon is preparing...
Canon is developing the EOS R1, the first flagship model for the EOS R SYSTEM, aimed at professionals and set for release in 2024. The...
Sigma has recently announced its plans to offer six DC DN APS-C lenses for Canon’s RF mount. This move makes Sigma one of the first third-party...
Canon is set to announce two new prime lenses for their RF mount lineup: the RF 24mm f/1.4L USM and the RF 50mm f/1.4 IS USM. Both...
According to the latest Canon rumors, many expect the upcoming Canon EOS R5 Mark II camera to feature a 60MP sensor, while it will likely...
The Canon EOS R3 is a professional full-frame mirrorless camera for sports and action photographers that features a back-illuminated stacked 24.1 megapixel full-frame CMOS imaging sensor. Now...
Let’s look at the new rumors for Canon’s upcoming RF 35mm f/1.2L USM lens. Looks like the aperture for the Canon RF 35mm, which is among the...
According to recent rumors, preparations are underway for the start of production of Canon EOS R5 Mark II. As a result, the official announcement for...