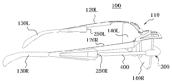
Olympus has filed a patent in Japan for their own wearable computing device. Egami, the Japanese photography blog spotted the patent which describes a pair of glasses feature “camera and display equipment”.
The new device is similar to Google Glass, and also have a built-in camera and display. Olympus wearable computer device patent is a Google Glass like device.
The patent can be seen here (2013-88725).




