Canon EOS RP Price $1599, Specs Leaked – Coming on Feb 14
According to latest rumors, Canon will soon announce a new entry level full-frame mirrorless camera. The product in question is the Canon EOS RP and...
According to latest rumors, Canon will soon announce a new entry level full-frame mirrorless camera. The product in question is the Canon EOS RP and...
Canon is on the verge to announce a new mirrorless camera called “Canon EOS RP“. The entry-level full frame will be officially announced in mid February, 2019 along with...
Canon is rumored to announce seven new RF lenses for EOS R full frame mirrorless camera in 2019. Canon full frame mirrorless camera enthusiasts can expect...
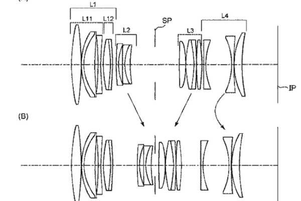
Canon has filed a new patent in Japan. The application is for RF 90mm f/2.8L IS Macro lens designed for Canon full frame mirrorless camera system. This lens...